Сигнифор® ЛАР: инструкция по применению

МНН: Пасиреотид
Содержание
- Лекарственная форма
- Состав
- Описание
- Фармакотерапевтическая группа
- Фармакологические свойства
- Показания к применению
- Способ применения и дозы
- Побочные действия
- Противопоказания
- Лекарственные взаимодействия
- Особые указания
- Передозировка
- Форма выпуска и упаковка
- Условия хранения
- Срок хранения
- Условия отпуска из аптек
- Производитель
Лекарственная форма
Порошок для приготовления суспензии для внутримышечного введения 20 мг, 40 мг и 60 мг в комплекте с растворителем
Состав
1 флакон содержит
активное вещество – пасиреотида памоат 27,420 мг, 54,840 мг и 82,260 мг (эквивалентно пасиреотида 20 мг, 40 мг и 60 мг),
вспомогательные вещества: поли(D,L-лактид-ко-гликолид) (50-60:40-50), поли(D,L-лактид-ко-гликолид) (50:50).
1 шприц с растворителем (2 мл) содержит: маннитол, натрия кармеллоза/натрия карбоксиметилцеллюлоза, азот, полоксамер 188, вода для инъекций.
Описание
Порошок от слегка желтоватого до желтоватого цвета.
Фармакотерапевтическая группа
Гипоталамо-гипофизарные гормоны и их аналоги. Гормоны гипоталамуса. Гормоны, замедляющие рост. Пасиреотид.
Код АТХ H01CB05
Фармакологические свойства
Фармакокинетика
Пасиреотид для внутримышечного введения представлен микросферами пролонгированного действия. После однократного введения уровни пасиреотида в плазме крови демонстрируют «взрывное» высвобождение в день инъекции с последующим снижением в период со дня 2 до дня 7, а затем — медленное повышение до максимальной концентрации ко дню 21 с переходом в фазу медленного снижения в течение следующих недель одновременно с фазой терминальной деградации полимерной матрицы лекарственной формы.
Всасывание
Относительная биодоступность пасиреотида, вводимого в виде глубокой внутримышечной (в/м) инъекции (препарат Сигнифор® ЛАР), по сравнению с пасиреотидом, вводимым в виде п/к инъекции (препарат Сигнифор®), является полной.
У здоровых добровольцев пасиреотид быстро всасывается после подкожного введения, и время достижения максимальной концентрации в плазме крови (Tmax) составляет 0,25 – 0,5 ч. Максимальная концентрация (Сmax) и площадь под фармакокинетической кривой «концентрация-время» (AUC) приблизительно соответствуют дозе после однократного и многократного введения.
На основании данных по биодоступности доклинических исследований на крысах и обезьянах прогнозируется, что абсолютная биодоступность пасиреотида в виде подкожного введения Сигнифор® ЛАР, у человека будет полной.
Влияние пищевых продуктов на всасывание препарата маловероятно ввиду парентерального пути введения пасиреотида.
Распределение
У здоровых добровольцев пасиреотид при в/м введении (препарат Сигнифор® ЛАР) показал большой кажущийся объем распределения (Vz/F>100 л). Распределение между кровью и плазмой не зависит от концентрации и показывает, что пасиреотид преимущественно находится в плазме (91%). Препарат умеренно связывается с белками плазмы (88%), причем связывание не зависит от концентрации.
Пасиреотид обладает низкой пассивной проникающей способностью, и вероятнее всего является субстратом P-гликопротеина. Ожидается, что влияние P-гликопротеина на всасывание, распределение, метаболизм и экскрецию пасиреотида невелико. В терапевтических дозах пасиреотид не является субстратом BCRP (белка резистентности рака молочной железы), OCT1 (транспортера органических катионов 1) или OATP (органических полипептидов – транспортеров анионов) 1В1, 1В3, 2В1.
Метаболизм
Пасиреотид практически не метаболизируется в печени и почках. У здоровых добровольцев пасиреотид обнаруживается в плазме, моче и кале, в основном, в неизмененном виде.
Выведение
Пасиреотид выводится главным образом через печеночный клиренс (выделение с желчью), и в небольших количествах почками. В исследовании ADME было показано, что 55,9 ± 6,63% дозы выводится в первые 10 дней после приема однократной дозы 600 мкг, в том числе 48,3 ± 8,16% – через кишечник и 7,63 ± 2,03% - почками.
Клиренс (CL/F) пасиреотида при в/м введении (препарат Сигнифор® ЛАР) у здоровых добровольцев составляет от 4,5 л/ч до 8,5 л/ч. На основании данных популяционных фармакокинетических анализов, расчетный клиренс (CL/F) составлял около 4,8–6,5 л/ч у пациентов с болезнью Кушинга и около 5,6–8,2 л/час у пациентов с акромегалией.
Фармакокинетика в равновесном состоянии
Равновесное состояние фармакокинетических параметров пасиреотида при в/м введении (препарат Сигнифор® ЛАР) достигается через 3 месяца применения. При многократном в/м введении пасиреотид в дозах от 10 мг до 60 мг с интервалом 4 недели (каждые 28 дней) у пациентов, фармакокинетические параметры изменялись примерно пропорционально введенной дозе.
Особые категории пациентов:
Пациенты в возрасте ≤ 18 лет
Эффективность и безопасность препарата Сигнифор® ЛАР у пациентов младше 18 лет не установлена.
Пациенты ≥ 65 лет
Данные анализа применения препарата у пациентов старше 65 лет ограничены, но не дают основания полагать, что безопасность и эффективность применения препарата у данной популяции существенно отличается от применения у пациентов более молодого возраста.
Пациенты с нарушением функции почек
Так как в выведении пасиреотида у человека почечный клиренс существенной роли не играет, значительное влияние функции почек на концентрацию пасиреотида в крови представляется маловероятным. В клиническом исследовании введение однократной дозы 900 мкг пасиреотида подкожно пациентам с нарушением функции почек с легкой, средней и тяжелой формой нарушения функции почек и на терминальной стадии нарушения функции почек не оказывало значительного эффекта на общую экспозицию пасиреотида в плазме крови. Экспозиция несвязанного пасиреотида в плазме (AUCinf,u) повышалась у пациентов с нарушением функции почек (легкая форма: 33 %; средняя: 25 %, тяжелая: 99 %, на терминальной стадии нарушения функции почек: 143 %) по сравнению с пациентами контрольной группы.
Пациенты с нарушением функции печени
По данным клинического исследования у пациентов с нарушением функции печени средней и тяжелой степени (класса B и C по классификации Чайлд-Пью), при п/к введении пасиреотида фармакокинетические показатели были заметно выше, чем у пациентов с нормальной функцией печени: показатель AUCinf повышался на 60% и 79%, Cmax повышался на 67% и 69%, а CL/F снижался на 37% и 44%, соответственно.
Фармакодинамика
Пасиреотид – это новый аналог соматостатина для инъекционного применения, представляющий собой циклогексапептид. Как и природные пептидные гормоны соматостатин-14 и соматостатин-28 (которые подавляют секрецию гормона роста), а также другие аналоги соматостатина, пасиреотид оказывает фармакологическое действие, связываясь с рецепторами соматостатина. Известно пять разных подтипов человеческого рецептора к соматостатину (SSTR – соматостатиновые рецепторы): SSTR 1, 2, 3, 4 и 5. Аналоги соматостатина связываются с SSTR-рецепторами с разной аффинностью (Таблица 1). Пасиреотид с высокой аффинностью связывается с четырьмя из пяти SSTR-рецепторов.
Таблица 1 Аффинность связывания соматостатина (SRIF-14), пасиреотида, октреотида и лантреотида с пятью разными подтипами человеческого рецептора hsst (hsst1-5)
Вещество | SSTR 1 | SSTR 2 | SSTR 3 | SSTR 4 | SSTR 5 |
Соматостатин (SRIF-14) | 0,93±0,12 | 0,15±0,02 | 0,56±0,17 | 1,5±0,4 | 0,29±0,04 |
Пасиреотид | 9,3±0,1 | 1,0±0,1 | 1,5±0,3 | > 1000 | 0,16±0,01 |
Октреотид | 280±80 | 0,38±0,08 | 7,1±1,4 | > 1000 | 6,3±1,0 |
Лантреотид | 180±20 | 0,54±0,08 | 14±9 | 230±40 | 17±5 |
Представлены средние значения концентрации полумаксимального ингибирования (IC50) c учетом стандартной ошибки среднего значения (+СОС), выраженные в нмоль/л (нМ).
Рецепторы к соматостатину экспрессируются во многих тканях, в особенности в нейроэндокринных опухолях, которые секретируют избыток гормонов, в том числе и соматотропный гормон (СТГ, гормон роста) при акромегалии и АКТГ при болезни Кушинга. Результаты исследований in vitro показали высокий уровень экспрессии hsst5 клетками кортикотропной опухоли у пациентов с болезнью Кушинга, при этом остальные подвиды рецепторов либо не экспрессируются совсем, либо экспрессируются на низком уровне. Пасиреотид связывает и активирует четыре из пяти hsst-рецепторов, особенно hsst5, в кортикотрофах АКТГ продуцирующих аденом, приводя к ингибированию секреции АКТГ. Благодаря способности прочно связываться с рецепторами cоматостатина, пасиреотид может оказывать воздействие на оба подтипа рецепторов (SSTR 2 и SSTR 5), ответственных за ингибирование секреции СТГ и инсулиноподобного фактора роста 1 (ИФР-1), что обуславливает его большую эффективность в лечении пациентов с акромегалией.
Метаболизм глюкозы
В рандомизированном, двойном слепом исследовании механизма действия препарата, проведенном у здоровых добровольцев, развитие гипергликемии при подкожном (п/к) введении пасиреотида в дозах 600 и 900 мкг 2 раза в сутки сопровождалось значительным снижением секреции инсулина и инкретиновых гормонов (в частности, глюкагоноподобного пептида 1 (ГПП-1) и глюкозозависимого инсулинотропного полипептида (ГИП)). Пасиреотид не влиял на чувствительность тканей к инсулину. В другом рандомизированном исследовании у здоровых добровольцев эффекты пасиреотида на уровень глюкозы в крови изучали, сравнивая группы участников исследования, получавших пасиреотид п/к в дозе 600 мкг 2 раза в сутки в качестве монотерапии или в комбинации с гипогликемическим лекарственным препаратом (метформин, натеглинид, вилдаглиптин или лираглутид, соответственно; препараты инсулина не были включены в исследование) на протяжении 7 дней. В данном исследовании было показано, что гипергликемию, вызываемую пасиреотидом, наиболее эффективно корректировали препараты, действующие на инкретиновую систему (агонисты ГПП-1 и ингибиторы дипептидилпептидазы 4 (ДПП-4).
Влияние на электрофизиологию сердца
Эффект пасиреотида (вводимого подкожно) на длину интервала QT оценивали в двух открытых, контролируемых перекрестных исследованиях. Было показано, что максимальное изменение средней длины этого интервала относительно исходного значения (после вычитания эффекта плацебо) наблюдалось через 2 ч после введения препарата. На фоне применения пасиреотида наблюдалось снижение частоты сердечных сокращений; в случае применения пасиреотида в дозе 600 мкг 2 раза в сутки максимальная разница по сравнению с плацебо наблюдалась через 1 ч (-10,39 мин-1), а в случае применения пасиреотида в дозе 1950 мкг 2 раза в сутки – через 0,5 ч (-14,91 мин-1). Преходящих или продолжительных эпизодов пируэтной тахикардии отмечено не было.
Максимальные концентрации для максимальной дозы препарата Сигнифор® ЛАР - 60 мг у пациентов с акромегалией и нормальной функцией печени и 40 мг у пациентов с акромегалией и нарушениями функции печени средней степени тяжести - составляют 25,8 нг/мл и 28,8 нг/мл, соответственно, и сходны со значением максимальной концентрации пасиреотида при его п/к введении в дозе 600 мкг 2 раза в сутки (24,3 нг/мл) и ниже его максимальной концентрации при п/к введении в дозе 1 950 мкг 2 раза в сутки (80,6 нг/мл).
Удлинение интервала QT на фоне применения пасиреотида не связано с его эффектом на калиевые hERG-каналы. Для измерения способности сердечной мышцы восстанавливаться после очередного сокращения и оценки возможного проаритмогенного действия пасиреотида проводили непрерывное электрокардиографическое исследование (ЭКГ) на протяжении 24 часов. Пасиреотид статистически значимо улучшал все параметры восстановления сердечной мышцы на фоне удлинения интервала QT, из чего следует, что удлинение интервала QT, опосредованное пасиреотидом, возможно не связано с повышенным риском развития аритмий. Кроме того, количественный анализ морфологии зубца T не выявил никаких изменений, указывающих на нарушение пространственной гетерогенности реполяризации миокарда на фоне применения пасиреотида.
Показания к применению
- лечение взрослых пациентов с акромегалией, которым хирургическое лечение не показано, либо было неэффективным, либо не достигшим адекватного контроля при лечении другим аналогом соматостатина
- лечение взрослых пациентов с болезнью Кушинга при невозможности или хирургическом вмешательстве
Использование препарата в дозе 60 мг возможно только при лечении акромегалии.
Способ применения и дозы
Акромегалия
При лечении акромегалии рекомендуемая начальная доза препарата Сигнифор® ЛАР составляет 40 мг каждые 4 недели.
Если после 3-х месяцев лечения в дозе 40 мг препаратом Сигнифор® ЛАР не удается достичь целевых показателей концентрации СТГ и ИФР-1, возможно увеличение дозы препарата до максимальной (60 мг).
В случае возникновения нежелательных реакций или избыточного терапевтического эффекта (ИФР-1<нижней границы нормы), предположительно связанных с применением препарата, может потребоваться уменьшение дозы препарата Сигнифор® ЛАР. Временное или постоянное уменьшение дозы возможно путем ее поэтапного снижения.
Болезнь Кушинга
При лечении болезни Кушинга рекомендуемая начальная доза составляет 10 мг пасиреотида, вводимого внутримышечно, каждые 4 недели.
Клиническую эффективность проводимого лечения необходимо оценить через месяц терапии сигнифором и затем периодически. С учетом ответа и переносимости каждые 2–4 месяца выполняется титрация дозы. Максимальная рекомендуемая доза сигнифора при болезни Кушинга составляет 40 мг каждые 4 недели. При отсутствии клинической эффективности рекомендуется прекратить прием препарата.
В ходе контроля подозреваемых нежелательных явлений или гиперреакций на лечение (уровни кортизола < нижней границы нормы) может потребоваться уменьшение дозы сигнифора, временная или постоянная отмена препарата.
Переход с подкожных инъекций на внутримышечные при болезни Кушинга
Клинические данные по переходу с подкожной на внутримышечные инъекции препарата пасериотид отсутствуют. В случае необходимости подобного перехода при лечении болезни Кушинга рекомендуемая начальная доза составляет 10 мг пасиреотида, вводимого внутримышечно, каждые 4 недели.
Необходимо следить за ответом и переносимостью препарата у пациента. Может возникнуть необходимость в коррекции дозы.
Пропуск дозы
Если доза препарата Сигнифор® ЛАР пропущена, инъекции следует вводить как можно скорее, после этого назначение следующей дозы инъекции должно быть запланировано через 4 недели для возобновления стандартного графика назначения каждые 4 недели.
Способ введения
Препарат можно вводить только глубоко в ягодичную мышцу.
Процедура приготовления суспензии препарата Сигнифор® ЛАР включает 2 критических этапа. В случае несоблюдения соответствующих указаний надлежащая доставка лекарственного препарата может оказаться невозможной.
Набор для инъекции должен достичь комнатной температуры. Достаньте набор для инъекции из холодильника и, прежде чем приступать к приготовлению суспензии, оставьте набор для инъекции при комнатной температуре не менее чем на 30 минут (но не более 24 часов).
После добавления растворителя аккуратно перемешайте содержимое, перемещая флакон в горизонтальной плоскости, в течение, по крайней мере, 30 секунд до тех пор, пока не сформируется гомогенная суспензия.
Компоненты набора для инъекции:
.png)
a. Один флакон с порошком препарата Сигнифор® ЛАР
b. Один предварительно наполненный шприц с растворителем для приготовления суспензии
c. Один адаптер для флакона для приготовления лекарственного препарата
d. Одна безопасная игла для инъекции (20G x 1.5”)
Чтобы надлежащим образом приготовить суспензию препарата Сигнифор® ЛАР для глубокой внутримышечной инъекции, тщательно следуйте указаниям, приведенным ниже.
Суспензию препарата Сигнифор® ЛАР следует готовить непосредственно перед введением.
Инъекцию препарата Сигнифор® ЛАР должен проводить только медицинский работник, имеющий соответствующий опыт.
![]() | Этап 1: Достаньте набор для инъекции препарата Сигнифор® ЛАР из холодильника. ВНИМАНИЕ: Приступать к процедуре приготовления следует только после того, как набор для инъекции достигнет комнатной температуры. Перед тем, как приступать к приготовлению суспензии, оставьте набор при комнатной температуре не менее чем на 30 минут (но не более 24 часов). Примечание: При необходимости набор для инъекции можно снова поставить в холодильник. |
![]() | Этап 2: Снимите с флакона пластиковую крышку, протрите резиновую пробку флакона спиртовой салфеткой. |
![]() | Удалите пленку с упаковки, в которой находится адаптер для флакона, но НЕ вынимайте его из упаковки. Удерживая за упаковку адаптера для флакона, поместите его на верхушку флакона и протолкните адаптер для флакона до конца вниз, пока он не зафиксируется (при этом вы должны услышать щелчок). |
![]() | Удерживая упаковку адаптера для флакона за верхнюю часть, приподнимите её вертикально вверх и удалите упаковку с адаптера для флакона. |
![]() | Этап 3: Снимите колпачок с предварительно наполненного шприца с растворителем для приготовления суспензии и аккуратно навинтите шприц на адаптер для флакона. |
![]() | Медленно протолкните поршень вниз до конца с тем, чтобы весь растворитель из предварительно наполненного шприца оказался во флаконе. |
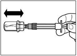
![]() | Этап 4: ВНИМАНИЕ: Удерживая поршень в нажатом положении, аккуратно перемещайте флакон в горизонтальной плоскости в течение, по крайней мере, 30 секунд до тех пор, пока не сформируется однородная суспензия. Если порошок суспендирован не полностью, снова аккуратно перемешайте содержимое, перемещая флакон в горизонтальной плоскости в течение 30 секунд. |
![]() | Этап 5: Переверните флакон с присоединенным к нему шприцем дном вверх, медленно оттяните поршень вниз, чтобы отобрать содержимое флакона в шприц. |
![]() | Отвинтите шприц от адаптера для флакона. |
![]() | Этап 6: Навинтите на шприц безопасную иглу для инъекции. |
![]() | Снимите с иглы защитный колпачок, потянув его вверх по линии иглы. Во избежание седиментации, вы можете поддерживать однородность суспензии, слегка покачивая шприц. Слегка постучите по шприцу для того, чтобы видимые пузырьки воздуха поднялись наверх, после чего удалите их из шприца, осторожно нажимая на поршень. Теперь суспензия препарата Сигнифор® ЛАР готова для немедленного введения. |
![]() | Этап 7: Препарат Сигнифор® ЛАР следует вводить только глубоко внутримышечно. НИ ПРИ КАКИХ ОБСТОЯТЕЛЬСТВАХ не вводите его внутривенно. Подготовьте место инъекции, протерев его спиртовым тампоном. Введите иглу до конца в правую или левую ягодичную мышцу под углом 90° к поверхности кожи. Немного оттяните поршень назад, чтобы убедиться в том, что игла не вошла в кровеносный сосуд (если игла попала в кровеносный сосуд, введите её в другое место). Медленно надавите на поршень до полного опустошения шприца. Выньте иглу из места инъекции и приведите в действие откидной предохранитель (как показано ниже, см. Этап 8). |
![]() | Этап 8 Накиньте на иглу откидной предохранитель одним из 2 способов, показанных ниже: либо прижмите шарнирный участок предохранителя к твердой поверхности (рисунок A), либо протолкните шарнир вперед указательным пальцем (рисунок B). Когда вы услышите щелчок, вы можете быть уверены, что предохранитель зафиксирован. Сразу же выбросьте использованный шприц в контейнер для острых предметов. |
Режим дозирования у особых групп пациентов
Применение у пациентов с нарушением функции почек
Коррекции дозы препарата не требуется.
Применение у пациентов с нарушением функции печени
Не требуется коррекции дозы при применении препарата у пациентов с нарушениями функции печени легкой степени тяжести (класс А по классификации Чайлд-Пью).
Акромегалия: рекомендуемая начальная доза для пациентов с умеренной формой печеночной недостаточности (класс В по шкале Чайлда-Пью) составляет 20 мг каждые 4 недели. Максимальная рекомендуемая доза для данной группы пациентов составляет 40 мг каждые 4 недели (см. раздел «Фармакокинетика»).
Болезнь Кушинга: рекомендуемая начальная доза для пациентов с умеренной формой печеночной недостаточности (класс В по шкале Чайлда-Пью) при болезни Кушинга составляет 10 мг каждые 4 недели. Максимальная рекомендуемая доза для данной группы пациентов составляет 20 мг каждые 4 недели (см. раздел «Фармакокинетика»).
Препарат Сигнифор® ЛАР не следует применять пациентам с тяжелыми нарушениями функции печени (класс С по классификации Чайлд-Пью).
Применение у пациентов в возрасте ≤ 18 лет
Не рекомендуется применять препарат Сигнифор® ЛАР детям и подросткам с акромегалией, так как отсутствуют клинические данные по эффективности и безопасности применения препарата у данной группы пациентов.
Применение у пациентов в возрасте ≥ 65 лет
Клинические данные по эффективности и безопасности применения у данной группы ограничены, но нет никаких доказательств того, что требуется коррекция дозы препарата у данной категории пациентов.
Правила применения препарата
Введение препарата Сигнифор® ЛАР должно осуществляться опытным медицинским работником только в виде глубокой внутримышечной инъекции в ягодичную мышцу. Суспензию препарата Сигнифор® ЛАР следует готовить непосредственно перед введением. При повторных инъекциях следует чередовать левую и правую ягодичные мышцы.
Побочные действия
Данные о профиле безопасности
Профиль безопасности пасиреотида в виде внутримышечной инъекции соответствовал аналогам соматостатина, за исключением более тяжелой степени и частоты развития гипергликемии в группе, в которой пасиреотид вводили в виде внутримышечной инъекции. У пациентов с акромегалией и пациентов с болезнью Кушинга отмечался преимущественно сопоставимый профиль безопасности пасиреотида в виде внутримышечной инъекции.
Акромегалия
Оценка безопасности проводилась на 491 пациенте с акромегалией, получающем пасиреотид (419 пациентов получали пасиреотид в виде внутримышечной инъекции и 72 пациента — в виде подкожной инъекции) в исследованиях фазы I, II и III. Наиболее частые нежелательные реакции (частота возникновения ≥ 1/10) по сводным данным исследований III фазы C2305 и C2402 (в порядке убывания): диарея (наиболее частая в исследовании C2305), желчекаменная болезнь, гипергликемия (самые часты в исследовании C2402) и сахарный диабет. Нежелательные реакции 3-й и 4-й степени токсичности были связаны с развитием гипергликемии.
Болезнь Кушинга
Оценка безопасности внутримышечной инъекции проводилась на основе данных по 150 пациентам с болезнью Кушинга, которые получали пасиреотид в ходе исследования III фазы C2304 (средняя продолжительность воздействия: 57 недель). Пациентов рандомизировали на группы в соотношении 1 : 1 для получения пасиреотида в начальных дозах 10 мг или 30 мг, с возможностью увеличения дозы до 40 мг каждые 28 дней. Наиболее частые нежелательные реакции (частота возникновения ≥ 1/10) по данным исследования III фазы G2304: гипергликемия, диарея, желчекаменная болезнь и сахарный диабет. Более высокая частота и степень тяжести нежелательных реакций отмечалась при повышенной начальной дозе, равной 30 мг, что не соответствовало всем нежелательным реакциям. Побочные реакции перечислены в соответствии с частотой возникновения: очень часто > 1/10, часто > 1/100 и <1/10, нечасто >1/1000 и <1/100, редко >1/10000 и <1/ 1000, очень редко <1/10000.
Очень часто > 1/10
гипергликемия, сахарный диабет
диарея, тошнота, боль в области живота*
усталость
холелитиаз
алопеция
Часто > 1/100 и <1/10
анемия
адреналовая недостаточность*, снижение кортизола в крови
сахарный диабет 2 типа, нарушение толерантности к глюкозе, снижение аппетита
головокружение, головная боль
синусовая брадикардия**, удлинение интервала QT
вздутие живота, рвота
холецистит*, холестаз
выпадение волос, зуд
реакции в месте введения***
повышение активности креатининфосфокиназы в крови, повышение активности аланинаминотрасферазы (АЛТ), повышение уровня аспартатаминотрансферазы, повышение концентрации глюкозы в крови, повышение гликозилированного гемоглобина (HbA1c), повышение уровня липазы
Нечасто > 1/1000 и <1/100
повышение активности амилазы, пролонгированное протромбиновое время
* Сгруппированные термины: недостаточность надпочечников включает недостаточность надпочечников и снижение уровня кортизола
в крови.
** Синусовая брадикардия включает брадикардию и синусовую брадикардию. Боль в животе включает боль в области живота и боль в верхней части живота.
*** Реакция в месте инъекции препарата включает следующие термины предпочтительного употребления: боль в месте инъекции, узел в месте инъекции, дискомфорт в месте инъекции, синяк в месте инъекции, зуд в месте инъекции, реакция в месте инъекции, гиперчувствительность в месте инъекции и опухание в месте инъекции препарата. Холецистит включает острый холецистит и хронический холецистит. Утомляемость включает утомляемость и астению.
Описание отдельных побочных действий
Нарушение метаболизма глюкозы
Акромегалия
В исследовании III фазы (С2305) у пациентов с акромегалией повышение концентрации глюкозы в плазме крови натощак было наиболее частым лабораторным нарушением 3/4 степени тяжести. Повышенные уровни глюкозы в плазме крови натошак в основной и продленной фазе данного исследования, относящиеся к побочным эффектам 3 степени, были зарегистрированы у 9,6% и 0,6% пациентов, а побочные эффекты 4 степени - у 0,6% и 0 пациентов, получавших Сигнифор ЛАР и Сандостатин ЛАР, соответственно. В абсолютном выражении, среднее повышение концентрации глюкозы в плазме крови натощак и HbA1c у всех пациентов, получавших препарат Сигнифор® ЛАР, было примерно одинаковым (вне зависимости от исходных значений). Средние значения концентрации глюкозы в плазме крови натощак и HbA1c достигали максимума в течение первых 3 месяцев применения препарата Сигнифор® ЛАР.
В основной и продленной фазе исследования C2305, возникновение таких побочных эффектов, как сахарный диабет и гипергликемия, привело к выходу из исследования у 3 пациентов (1,7%) по сравнению с 2 пациентами (1,1%) и у 2 пациентов (1,1%) по сравнению с 0 пациентами в группах лечения Сигнифор ЛАР и Сандостатин ЛАР, соответственно.
Повышение уровня глюкозы в плазме крови натощак и HbA1c отмечалось при лечении препаратом Сигнифор ЛАР. Данный побочный эффект был обратимым после прекращения терапии, что подтверждалось быстрым снижением уровней FPG и HbA1c у пациентов, перешедших из группы Сигнифор ЛАР в группу Сандостатин ЛАР в продленной фазе исследования C2305. Значения FPG и HbA1c возвращались к исходному уровню, сопоставимому с таковым у пациентов в группе Сандостатин ЛАР в основной фазе исследования.
Степень тяжести и частота развития гипергликемии в обоих базовых исследованиях в группе, принимавшей сигнифор в виде внутримышечной инъекции, были выше, чем в группе активного контроля (октреотид в виде внутримышечной инъекции или ланреотид в виде глубокой подкожной инъекции). По результатам сводного анализа двух базовых исследований, общая частота развития ассоциированных с гипергликемией нежелательных явлений составила 58,6 % (всех степеней тяжести) и 9,9 % (степени 3 и 4 по критериям оценочной шкалы общих критериев токсичности) в группе, принимавшей сигнифор в виде внутримышечных инъекций, и 18,0 % (всех степеней тяжести) и 1,1 % (степени 3 и 4 общих критериев токсичности) в группе активного контроля. В базовом исследовании с участием пациентов, не достигших адекватного контроля, в ходе приема аналога соматостатина доля пациентов, ранее не принимавших антидиабетические средства и требовавших инициацию антидиабетической терапии во время исследования, составляла 17,5 % и 16,1 % в группах, принимавших сигнифор в дозах 40 мг и 60 мг, в сравнении с 1,5 % в группе активного контроля. В базовом исследовании с участием пациентов, ранее не получавших медицинское лечение, доля пациентов, требовавших инициации антидиабетического лечения во время исследования, составляла 36 % в группе, принимавшей сигнифор, и 4,4 % в группе активного контроля.
Болезнь Кушинга
В исследовании III фазы G2304 у пациентов с болезнью Кушинга повышенный уровень содержания глюкозы в крови натощак был самым распространенным отклонением лабораторных показателей от нормы 3/4-й степени по критериям оценочной шкалы общих критериев токсичности (14,7 % пациентов); реакции 4-й степени не выявлены. На момент включения в исследование у пациентов с нормальной гликемией отмечалось менее выраженное повышение средних уровней HbA1c в сравнении с пациентами, предрасположенными к диабету, или пациентами с диабетом. Обычно повышение средних уровней содержания глюкозы в крови натощак отмечалось в течение первого месяца лечения при их снижении и стабилизации в ходе последующих месяцев. Повышения уровней содержания глюкозы в крови натощак и HbA1cзависели от дозы; после отмены пасиреотида в виде внутримышечной инъекции уровни обычно снижались, но оставались выше исходных величин. Общая частота развития ассоциированных с гипергликемией нежелательных явлений составила 75,3 % (всех степеней тяжести) и 22,7 % (степень 3 по критериям оценочной шкалы общих критериев токсичности). В связи с развитием нежелательных реакций гипергликемии и сахарного диабета 3 % (2,0 %) и 4 (2,7 %) пациента соответственно прекратили получать
препарат.
Повышенные показатели уровня глюкозы в плазме натощак и HbA1c в ходе лечения пасиреотидом в виде внутримышечных инъекций приходят в норму после прекращения лечения. У пациентов, получающих препарат Сигнифор® ЛАР, следует контролировать концентрацию глюкозы в плазме крови натощак и HbA1c в соответствии с установленными рекомендациями.
Расстройства со стороны желудочно-кишечного тракта
Как и в случае других аналогов соматостатина, на фоне применения пасиреотида часто отмечались желудочно-кишечные расстройства. Обычно подобные явления характеризовались низкой степенью выраженности, не требовали вмешательства и разрешались на фоне продолжающегося лечения. Что касается пациентов с акромегалией, нарушения со стороны желудочно-кишечного тракта наблюдались реже в группе пациентов, не достигших адекватного контроля, чем в группе пациентов, ранее не получавших лечение.
Реакции в месте введения
В исследованиях III фазы реакции в месте инъекции препарата (например, боль в месте инъекции препарата, дискомфорт в месте инъекции препарата) были 1-й или 2-й степени тяжести. Максимальное количество таких реакций наблюдалось в течение первых 3 месяцев лечения. В ходе исследований с участием пациентов с акромегалией реакции были сопоставимы между группами пациентов, получающих Сигнифор® ЛАР внутримышечно и Сандостатин® ЛАР внутримышечно. Наблюдалась меньшая частота реакций в группе пациентов, не достигших адекватного контроля, чем в группе пациентов, ранее не получавших лечение. Удлинение интервала QT
В исследовании C2305 доля пациентов с акромегалией, у которых впервые наблюдалось существенное удлинение интервалов QT/QTc,
была сопоставима между группой, получающей препарат Сигнифор® ЛАР внутримышечно, и группой, принимающей препарат Сандостатин® ЛАР внутримышечно, вплоть до достижения критических точек; в нескольких случаях показатели выходили за границы нормы. Показатель QTcF > 480 мс отмечен у 3 пациентов из группы пасиреотида внутримышечно и 2 пациентов из группы октреотида внутримышечно, удлинение интервала QTcF > 60 мс от исходного значения отмечено у 2 и 1 пациента в двух группах соответственно. В исследовании C2402 единственный случай выхода показателя за границы нормы в QTcF > 480 мс наблюдался у 1 пациента в группе, принимающей пасиреотид в дозе 40 мг. В исследовании G2304 с участием пациентов с болезнью Кушинга показатель QTcF > 480 мс отмечен у 2 пациентов. В любых базовых исследованиях не выявлено показателей QTcF >500 мс. Активность ферментов печени
В ходе клинических исследований временное повышение содержания печеночных ферментов отмечалось при использовании аналогов соматостатина и у здоровых пациентов, и у пациентов, получавших пасиреотид. Повышение содержания печеночных ферментов, как правило, не сопровождалось симптомами, имело легкую форму и проходило в ходе продолжения лечения. Сообщалось о нескольких случаях повышения АЛТ более чем в 3 раза от верхней границы нормы и уровня билирубина более чем в 2 раза от верхней границы нормы при введении препарата подкожно, при этом данные нежелательные реакции отсутствовали в группе пациентов, получавших пасиреотид внутримышечно. Все случаи сопутствующего повышения указанных показателей определены в течение десяти дней с момента начала терапии. Пациенты выздоровели без клинических осложнений, а показатели проб печеночной функции вернулись к исходным значениям по окончании лечения. Рекомендуется определять биохимические показатели функции печени до начала и во время терапии препаратом Сигнифор® ЛАР, по клиническим показаниям.
Активность ферментов поджелудочной железы
В клинических исследованиях на фоне применения пасиреотида отмечалось повышение активности липазы и амилазы, не сопровождавшееся клинической симптоматикой. Данные явления характеризовались низкой степенью выраженности и носили обратимый характер при продолжении терапии. Тем не менее, развитие панкреатита следует считать возможной побочной реакцией аналогов соматостатина, вследствие наличия связи между развитием холелитиаза и острого панкреатита.
Противопоказания
повышенная чувствительность к пасиреотиду или к любому из вспомогательных веществ
тяжелое нарушение функции печени (класс С по Чайлд-Пью)
Лекарственные взаимодействия
Фармакокинетические взаимодействия, влияющие на эффект пасиреотида
В исследовании влияния ингибитора Р-ГП на фармакокинетику пасиреотида, при его подкожном введении одновременно с применением верапамила у здоровых добровольцев не отмечено изменении показателей биодоступности пасиреотида.
Фармакокинетические взаимодействия, влияющие на эффект сопутствующих лекарственных средств.
Пасиреотид снижает относительную биодоступность циклоспорина. При одновременном применении пасиреотида с циклоспорином может возникнуть необходимость в коррекции дозы циклоспорина.
Фармакодинамические взаимодействия
Лекарственные средства, влияющие на пролонгацию интервала QT
Пасиреотид следует с осторожностью применять одновременно с антиаритмическими и другими препаратами, способными удлинять интервал QT: антиаритмические препараты (хинидин, прокаинамид, дизопирамид, амиодарон, дронедарон, соталол, дофетилид, ибутилид), отдельные антибактериальные препараты (эритромицин для внутривенного применения, кларитромицин, моксифлоксацин) отдельные антипсихотические препараты (хлорпромазин, тиоридазин, флуфеназин, галоперидол, тиаприд, амисульприд, сертиндол, метадон), некоторые антигистаминные препараты (терфенадин, астемизол, мизоластин), противомалярийные препараты (хлорохин, галофантрин, лумефантрин), некоторые противогрибковые препараты (кетоконазол, за исключением шампуня).
Брадикардические средства
Рекомендуется контролировать частоту сердечных сокращений (ЧСС) у пациентов, принимающих одновременно пасиреотид и препараты, вызывающие брадикардию: бета-адреноблокаторы (метопролол, пропранолол, соталол), антихолинэстеразные средства (ривастигмин, физостигмин), блокаторы «медленных» кальциевых каналов (верапамил, дилтиазем, бепридил) и антиаритмические препараты.
Инсулин и пероральные гипогликемические препараты
Пациентам, получающим инсулин или пероральные гипогликемические препараты, может потребоваться коррекция дозы (увеличение или уменьшение) данных препаратов при одновременном назначении с пасиреотидом.
Особые указания
Метаболизм глюкозы
У здоровых добровольцев и пациентов, получающих пасиреотид, часто сообщается об изменениях уровня глюкозы. У субъектов, принимающих участие в клинических исследованиях пасиреотида, наблюдалась гипергликемия и менее часто гипогликемия.
У пациентов , у которых развивалась гипергликемия, данное состояние, как правило, хорошо реагировало на противодиабетическую терапию. В клинических исследованиях пасиреотида уменьшение дозы или прекращение лечения пасиреотидом вследствие гипергликемии были нечастыми.
Развитие гипергликемии, по-видимому, связано с уменьшением секреции инсулина и инкретиновых гормонов (например, глюкагоноподобного пептида 1 типа [ГПП-1] и глюкозозависимого инсулинотропного полипептида [ГИП]).
До начала применения пасиреотида у пациента следует оценить концентрацию глюкозы в плазме крови натощак и HbA1c. В ходе лечения, а также после прекращения терапии препаратом Сигнифор® ЛАР, следует контролировать концентрацию глюкозы в плазме крови натощак и HbA1c в соответствии с установленными рекомендациями. В течение первых трех месяцев лечения пациенты должны еженедельно самостоятельно контролировать концентрацию глюкозы в плазме крови (натощак); после этого срока - периодически по клиническим показаниям, а также в первые 4-6 недель после любого повышения дозы препарата. Дополнительно, рекомендуется контролировать концентрацию глюкозы в плазме крови 4 недели и HbA1c 3 месяца после завершения лечения.
Если на фоне применения препарата Сигнифор® ЛАР у пациента развивается гипергликемия, рекомендуется применение гипогликемических средств или коррекция схемы их применения; при этом необходимо следовать принятым руководствам по лечению гипергликемии. Если, несмотря на проводимое лечение, гипергликемия сохраняется, следует уменьшить дозу препарата Сигнифор® ЛАР или прекратить его применение.
Риск развития тяжелой гипергликемии и связанных с ней осложнений (например, кетоацидоза) может быть повышен у пациентов с гипергликемией, плохо поддающейся коррекции (уровень HbA1c >8% на фоне терапии гипогликемическими препаратами). У пациентов с предшествующей гипергликемией, плохо поддающейся коррекции, перед началом и во время терапии препаратом Сигнифор® ЛАР следует усилить гликемический контроль и скорректировать терапию сахарного диабета.
Биохимические показатели функции печени
У пациентов, получавших пасиреотид, часто отмечались случаи умеренного кратковременного повышения активности аминотрансфераз. Было отмечено несколько случаев одновременного повышения активности АЛТ более чем в 3 раза выше верхней границы нормы (ВГН) и концентрации билирубина более чем в 2 раза выше ВГН.
Рекомендуется контролировать биохимические показатели функции печени (билирубин, активность «печеночных» ферментов) до начала терапии препаратом Сигнифор® ЛАР и через 2-3 недели от начала терапии, а затем ежемесячно на протяжении трех месяцев. В дальнейшем биохимические показатели функции печени также контролируются по клиническим показаниям.
При выявлении повышенной активности аминотрансфераз необходимо установить контроль за состоянием пациента с частым определением биохимических показателей функции печени до тех пор, пока биохимические показатели функции печени не достигнут исходных на момент начала лечения значений.
Терапию препаратом Сигнифор® ЛАР следует прекратить, в случаях если:
- у пациента на фоне применения препарата Сигнифор® ЛАР развилась желтуха или другие признаки выраженного нарушения функции печени,
- выявлено устойчивое повышение активности аспартатаминотрансферазы (АСТ) или АЛТ в 5 раз и выше верхней границы нормы,
-выявлено повышение активности АЛТ и АСТ более чем в 3 раза выше верхней границы нормы с одновременным повышением концентрации билирубина более чем в 2 раза выше верхней границы нормы.
Если нарушения биохимических показателей функции печени предположительно связаны с применением препарата, дальнейшее возобновление терапии препаратом Сигнифор® ЛАР не рекомендуется.
Сердечно-сосудистая патология
На фоне применения пасиреотида отмечались случаи брадикардии. Необходимо тщательное наблюдение за пациентами с заболеванием сердца и/или факторами риска брадикардии (в частности, у пациентов, в анамнезе которых имеется клинически значимая брадикардия или острый инфаркт миокарда, атриовентрикулярная блокада высокой степени, хроническая сердечная недостаточность (III или IV класса по классификации NYHA), нестабильная стенокардия, стойкая желудочковая тахикардия, фибрилляция желудочков). Может потребоваться коррекция дозы таких препаратов, как бета-адреноблокаторы, антагонисты кальция или средства для коррекции водно-электролитного баланса.
В исследовании с применением подкожной лекарственной формы пасиреотид вызывал удлинение интервала QT на ЭКГ у двух здоровых добровольцев. Клиническое значение данного проявления неизвестно.
В клинических исследованиях III фазы у пациентов с акромегалией не было выявлено клинически значимых различий между препаратом Сигнифор® ЛАР и аналогами соматостатина, используемыми в качестве активных препаратов сравнения, с точки зрения явлений, связанных с удлинением интервала QT. Все случаи удлинения интервала QT, носили преходящий характер и разрешались без терапевтического вмешательства.
В клинических исследованиях пасиреотида эпизодов пируэтной тахикардии отмечено не было.
Пасиреотид следует с осторожностью применять у пациентов, у которых интервал QT либо уже удлинен, либо может быть удлинен с высокой вероятностью, в частности у пациентов:
с врожденным синдромом удлинения интервала QT,
с неконтролируемым или серьезным заболеванием сердца, в том числе, недавно перенесенным инфарктом миокарда, хронической сердечной недостаточностью, нестабильной стенокардией или клинически значимой брадикардией,
принимающих антиаритмические лекарственные препараты или другие лекарственные препараты, ведущие к удлинению интервала QT,
с гипокалиемией и/или гипомагниемией.
Рекомендуется проведение электрокардиографического исследования до начала лечения препаратом Сигнифор® ЛАР. Рекомендуется контролировать длину интервала QTc на фоне применения препарата Сигнифор® ЛАР через 21 день после начала его применения и по клиническим показаниям. До начала терапии препаратом Сигнифор® ЛАР у пациентов с гипокалиемией и гипомагниемией необходимо нормализовать содержание калия и магния в плазме крови; на фоне дальнейшего лечения следует периодически контролировать их концентрацию.
Гипокортицизм
У пациентов, получавших препарат Сигнифор® ЛАР, подавление выработки АКТГ (адренокортикотропного гормона) может привести к развитию гипокортицизма.
В этой связи следует контролировать состояние и инструктировать пациентов относительно возможного возникновения симптомов гипокортицизма (например, слабость, утомляемость, анорексия, тошнота, рвота, снижение артериального давления, гипонатриемия или гипогликемия). В случае подтвержденного гипокортицизма может потребоваться временная заместительная терапия глюкокортикостероидами (ГКС) и/или снижение дозы или временное прекращение терапии препаратом Сигнифор® ЛАР. Быстрое снижение уровней кортизола может быть связано со снижением количества лейкоцитов.
Холелитиаз
Холелитиаз – установленная нежелательная лекарственная реакция, связанная применением аналогов соматостатина, в том числе пасиреотида. Рекомендуется проводить ультразвуковое исследование желчного пузыря до начала применения пасиреотида и через каждые 6-12 месяцев его применения. Наличие камней в желчном пузыре у пациентов, получающих пасиреотид, в большинстве случаев не сопровождается клиническими проявлениями. Желчекаменную болезнь, сопровождающуюся характерной клинической симптоматикой, следует лечить в соответствии с принятой клинической практикой.
Гормоны гипофиза
Учитывая тот факт, что фармакологическая активность пасиреотида напоминает фармакологическую активность соматостатина, не следует исключать вероятность ингибирования гипофизарных гормонов, кроме ГР и/или ИФР-1 у пациентов с акромегалией, а также АКТГ/кортизола у пациентов с болезнью Кушинга. Рекомендуется проведение мониторинга функции гипофиза (например, ТТГ/свободный Т4) до начала и регулярно во время терапии сигнифором в соответствии с клиническими показаниями. Влияние на детородную функцию у женщин
Существует вероятность того, что терапевтическая польза в виде снижения содержания гормона роста (ГР) и нормализации концентрации инсулиноподобного фактора роста I (ИФР-1) у пациенток с акромегалией, а также уменьшение или нормализация уровней кортизола в сыворотке крови у пациенток с болезнью Кушинга может привести к восстановлению фертильности. Пациенткам с детородной способностью следует при необходимости рекомендовать применение адекватной контрацепции во время лечения препаратом Сигнифор® ЛАР.
Нарушения свертывания крови
Пациенты со значительно увеличенными показателями протромбинового времени (ПТВ) и частичного тромбопластинового времени (ЧТВ) или пациенты, получающие антикоагулянты из класса производных кумарина или производных гепарина, исключались из клинических исследований пасиреотида, поскольку безопасность сочетания с такими антикоагулянтами не была установлена. Если сопутствующего применения антикоагулянтов из класса производных кумарина или производных гепарина с вводимым внутримышечно препаратом Сигнифор® ЛАР избежать нельзя, у пациентов следует регулярно отслеживать изменения показателей свертывания крови (ПТВ и ЧТВ), и доза антикоагулянта должна корректироваться соответственно.
Пациенты с нарушением функции почек
Ввиду повышения экспозиции несвязанного препарата, Сигнифор® ЛАР следует с осторожностью использовать у пациентов с тяжелой формой нарушения функции почек или терминальной стадией почечной недостаточности.
Беременность и период лактации
Нет достаточных данных о применении пасиреотида при беременности. В исследованиях на животных показано, что препарат может оказывать токсическое действие на репродуктивную функцию. Препарат Сигнифор® ЛАР не рекомендуется применять при беременности и у женщин детородного возраста, которые не используют средства контрацепции.
Женщины детородного возраста и меры контрацепции
В доклинических исследованиях показано, что пасиреотид оказывает токсическое действие на плод. Пациенткам с сохраненным репродуктивным потенциалом следует использовать надежные методы контрацепции во время применения пасиреотида.
Неизвестно, проникает ли пасиреотид в грудное молоко у человека. В исследованиях пасиреотида на животных при его подкожном введении показано, что препарат выделяется с молоком лактирующих животных. Кормление грудью следует прекратить во время лечения препаратом Сигнифор® ЛАР.
Фертильность
Неизвестно влияет ли пасиреотид на фертильность. Исследования на крысах показали, что пасиреотид при п/к введении влияет на репродуктивные параметры, однако значимость этого влияния у человека не известна.
В доклинических исследованиях показано, что применение пасиреотида оказывало влияние на фертильность особей женского пола, однако значимость этого влияния у человека не известна. Снижение гормона роста или нормализация концентрации инсулиноподобного фактора роста 1 (ИФР-1) у пациенток с болезнью акромегалией, получающих пасиреотид, может привести к повышению фертильности. Пациентку следует предупредить об этом.
Особенности влияния лекарственного средства на способность управлять автотранспортом или другими потенциально опасными механизмами
Исследования влияния препарата на способность управлять автотранспортом и работать с механизмами не проводились. Учитывая возможность развития некоторых побочных эффектов на фоне приема препарата Сигнифор® ЛАР (головная боль, головокружение) пациентам следует соблюдать осторожность при управлении транспортными средствами и занятиях другими потенциально опасными видами деятельности, требующими повышенной концентрации внимания.
Передозировка
В случае передозировки следует начать соответствующее симптоматическое лечение, основываясь на состоянии пациента, и проводить его до разрешения симптомов.
Форма выпуска и упаковка
Препарат помещают во флакон коричневатого стекла типа I вместимостью 6 мл, укупоренный серой резиновой пробкой и обкатанный серой алюминиевой/полипропиленовой крышкой.
По 2 мл растворителя в шприц вместимостью 3 мл из бесцветного стекла типа I с двумя серыми резиновыми пробками, рукояткой, втулкой и колпачком.
По 1 флакону с препаратом, 1 шприцу с растворителем, адаптером для флакона и иглой для инъекций помещают в контурную упаковку.
По 1 контурной упаковке вместе с инструкцией по медицинскому применению на государственном и русском языках помещают в картонную пачку.
Условия хранения
Хранить при температуре от 2°С до 8 °С. Не замораживать.
Хранить в недоступном для детей месте!
Срок хранения
3 года
Не применять после истечения срока годности.
Условия отпуска из аптек
По рецепту
Производитель
Новартис Фарма АГ, Базель, Швейцария
.png)
.png)
.png)
.png)
.png)
.png)
.png)
.png)
.png)
.png)
.png)
.png)
.png)